PATENTS





UNITED STATES UTILITY AND DESIGN PATENTS

Keller und Knappich Augsburg (KUKA) Robotics






DATA GALLERY


Manipulation Drive: 4,548,097, 1985
Multi-purpose Industrial Robot: 4,733,576, 1988
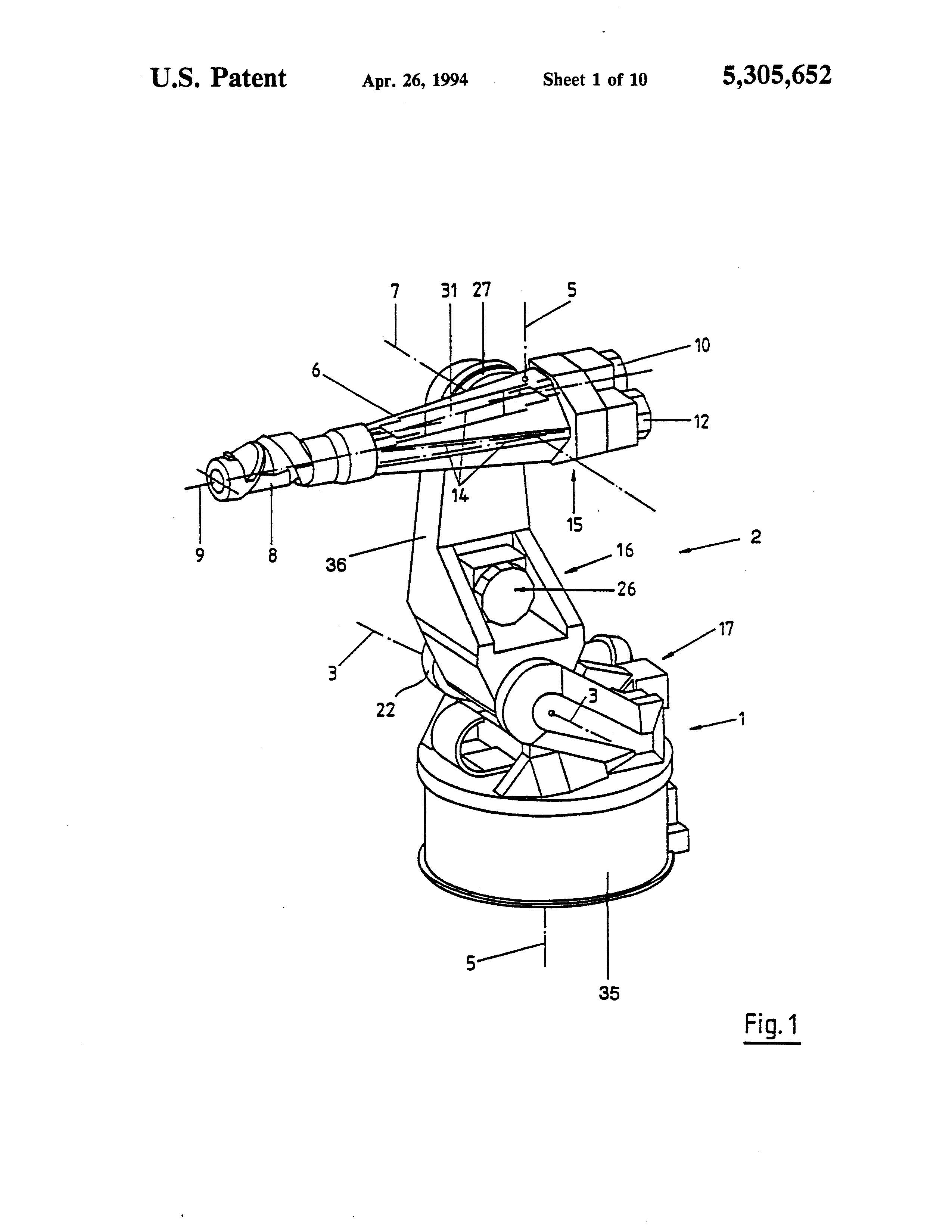
Multiaxial Industrial Robot: 5,305,652, 1994




Robot Arm with Weight Compensation: 6,145,403, 2000
Device for Driving a Robot Hand: 6,223,618 B1, 2001
Robot Arm: D449,057 S, 2001



Robot Arm: D444,488 S, 2001
Device and Method for Balancing the Weight on a Robot Arm: 6,408,225 B1, 2002
Method and Device for Calibrating Robot Measuring Stations, Manipulators and Associated Optical Measuring Devices: 6,615,115 B1, 2003


Robot: 6,731,091 B2, 2004
Weight Compensation Device: 6,952,977 B2, 2005
Method and Devices for Visualizing Computer-generated Information: 7,298,385 B2, 2007


Articulated Arm Robot: 8,219,245 B2, 2012
Manipulator Having a Counterweight Device Comprising Cantilevered Arms: 8,528,439 B2, 2013
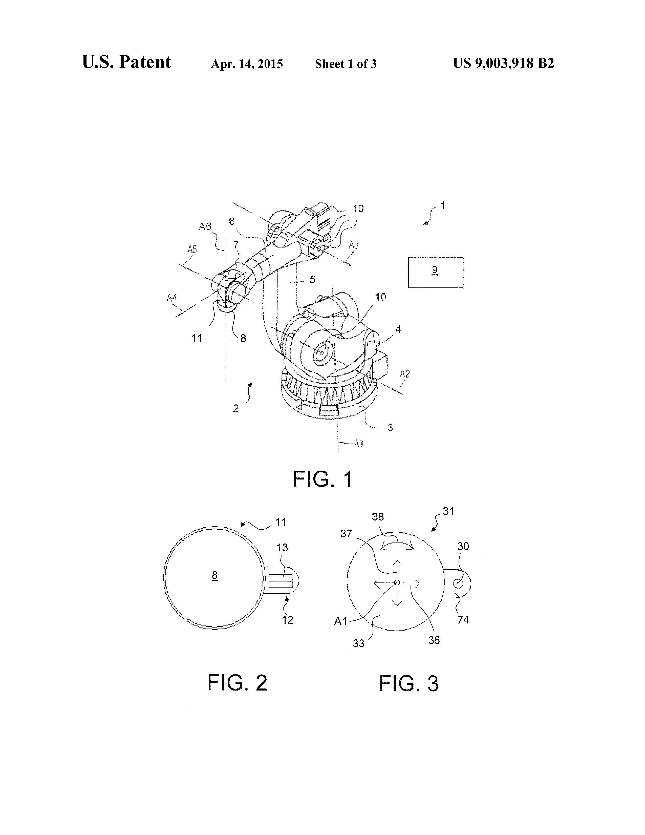
Robot Arm with an Adjustment Device: 9,003,918 B2, 2015


Industrial Robot with Actuators Extending in a Primary Hand Enclosure: 9,102,065 B2, 2015
Robot Arm: 9,120,229 B2, 2015
Industrial RoBot and MethoDs for Programming and Industrial Robot: 9,250,624 B2, 2016